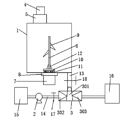
污水處理用聚合硫酸鐵投料裝置,包括溶解箱、加藥泵和射流器,溶解箱上方設有加藥斗,溶解箱底部中間設有攪拌軸,攪拌軸一端與攪拌電機連接,攪拌電機與支座連接,支座固定在溶解箱底部,攪拌軸另一端穿過支座設置于溶解箱內部,設置于溶解箱內部的攪拌軸中間設有攪拌葉片,底部設有轉盤,轉盤下方設有若干攪拌齒,溶解箱下方設有出料管,出料管上安裝有射流器,射流器的吸入室連接出料管,射流器的噴嘴通過輸送管連接加藥泵,加藥泵連接水源,射流器的擴散管通過輸送管連接至待處理污水槽。本發明的污水處理用聚合硫酸鐵投料裝置,避免出現聚合硫酸鐵溶解困難的現象,同時避免了加藥泵直接與藥劑接觸受腐蝕、維修不方便的問題。

一種污水處理用聚合硫酸鐵投料裝置,其特征在于:包括溶解箱、加藥 泵和射流器,所述溶解箱上方設有加藥斗,溶解箱底部中間設有攪拌軸,攪拌軸 一端與攪拌電機連接,攪拌電機與支座連接,支座固定在溶解箱底部,攪拌軸另 一端穿過支座設置于溶解箱內部,所述設置于溶解箱內部的攪拌軸中間設有攪拌 葉片,底部設有轉盤,轉盤下方設有若干攪拌齒,所述溶解箱下方設有出料管, 出料管上安裝有射流器,所述射流器的吸入室連接出料管,射流器的噴嘴通過輸 送管連接加藥泵,加藥泵連接水源,射流器的擴散管通過輸送管連接至待處理污 水槽。
聚合硫酸鐵是一種新型、、鐵鹽類無高分子絮凝劑,混凝性能優 良,礬花密實,沉降速度快,凈水效果優良,水質好,不含鋁、氯及重金屬離子 等有害物質,亦無鐵離子的水相轉移,無毒無害,安全可靠。具有除濁、脫色、 脫油、脫水、除菌、除臭、除藻、去除水中COD、BOD及重金屬離子等功效,對 微污染、含藻類、低溫低濁原水凈化效果顯著,對高濁度原水凈化效果尤佳,因 此廣泛應用于污水處理行業當中。聚合硫酸鐵使用時,先將聚合硫酸鐵配制成溶液,再用加藥泵進行加藥,目 前的投料裝置在配制聚合硫酸鐵溶液時,常出現聚合硫酸鐵在水中分布不均勻結 成絮團、溶解困難、溶解箱底部有沉積沉淀的現象,造成聚合硫酸鐵的浪費,影 響聚合硫酸鐵溶液的配制效果,不能很好的為后續使用;而且用加藥泵進行加藥 時,由于聚合硫酸鐵溶液具有腐蝕性,加藥泵溶液受到腐蝕而發生損壞,進行影 響整個污水處理系統的穩定運行,另外加藥泵損壞后更換耗費時間較長,拆卸不 方便。
盛世凈水提供了一種污水處理用聚合硫酸鐵投料裝置,避免在配制聚 合硫酸鐵溶液時,出現聚合硫酸鐵在水中分布不均勻結成絮團、溶解困難、溶解 箱底部有沉積沉淀的現象,同時通過設置射流器,避免了加藥泵直接與藥劑接觸 受腐蝕、維修不方便導致污水處理效果不好的問題,使得加藥泵不易損壞,清洗 時只需清洗射流器即可,大大降低了清洗難度。










